Usted está aquí : Inicio > Productos disponibles en 24h > Tela tejida > VIDE0.75FIL0.315


Características técnicas :
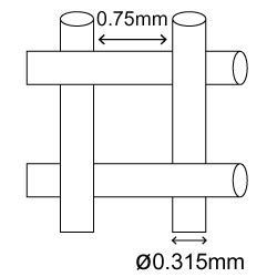
Obertura : 0.75 mm - Transparencia : 50 %proponemos el suministro opcional de un certificado 2.1.
Declaración de conformidad de la orden según la norme EN10204. Marque esta casilla para obtenerlo.